Công ty TNHH Thang máy Khổng lồ Hàng Châu nằm gần địa điểm du lịch tuyệt đẹp Hồ Tây --- Hàng Châu, một thành phố của "sự đổi mới, sức sống, sự hợp tác và lòng khoan dung"...Chúng tôi đang tham gia sản xuất và bán các sản phẩm nâng công nghiệp, xử lý vật liệu, Lịch sử của chúng tôi bắt đầu từ năm 1999 với tư cách là một bộ phận bán hàng và sau nhiều thập kỷ phát triển, doanh nghiệp của chúng tôi đã mở rộng đến hơn 50 quốc gia trên năm châu lục. ., Ltd. để tốt hơn phát triển kinh doanh.
Lợi thế:
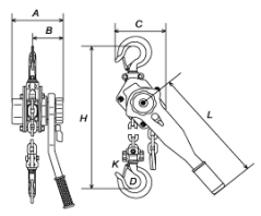
- Móc được thiết kế uốn cong từ từ để cảnh báo tình trạng quá tải.
- Hệ thống dẫn hướng xích tải đơn giản (hoạt động theo chiều ngang)
- Tính năng bánh xe tự do dễ sử dụng giúp loại bỏ nhu cầu sử dụng cần gạt để nâng độ chùng hoặc định vị móc.
- Thiết kế đơn giản giúp việc kiểm tra hoặc bảo trì định kỳ nhanh chóng và dễ dàng
- Hệ thống phanh được bao bọc hoàn toàn.
- Vỏ bánh răng chịu va đập cao và vỏ bọc.
- Đĩa phanh không amiăng.
- Tay cầm cao su vượt trội.
- Mỗi tời nâng đòn bẩy đều được kiểm tra vận hành ở mức 150% công suất định mức và được cấp chứng chỉ kiểm tra riêng.
- Tải trọng phá vỡ tối thiểu là 4 lần công suất định mức.



















